• <li id="www08"><tt id="www08"></tt></li><li id="www08"><table id="www08"></table></li>
  • <li id="www08"></li><li id="www08"></li>
    <li id="www08"><tt id="www08"></tt></li><li id="www08"><tt id="www08"></tt></li>
    <li id="www08"></li>
    <li id="www08"></li>
  • <tt id="www08"></tt>
  • 您現在的位置:首頁 / 技術支持 / 技術支持
    伴熱采樣復合管安裝與使用說明
    來源:安邦電伴熱  瀏覽次數:10410  日期:2013年1月24日

    一、前言
        耐腐(防腐)伴熱采樣復合管(簡稱伴熱采樣管)是一組由耐腐蝕高性能樹脂管與自限溫伴熱帶或恒功率伴熱帶組成內芯,外加保溫層、鋁帶,最后敷以阻燃聚烯烴保護外套復合而成。主要用于監測控制系統采集樣氣(液)用。在石油、化工、電力、冶金、焦化、環保等行業得到廣泛應用。
        根據用戶使用地的工藝條件,如溫度、濕度、腐蝕性和氣象條件等情況設計和制造。原始情況屬實,經精心設計,制造過程中嚴把制造質量,施工過程中安裝質量事關重大。務請認真閱讀耐腐伴熱采樣復合管安裝操作說明書。尤其值得提出的是耐腐伴熱采樣復合管中自限溫伴熱帶或恒功率伴熱帶的安裝要求嚴格,使用不慎容易發生故障,影響耐腐伴熱采樣復合管的使用壽命。
    二、應當遵循的安裝程序
        1、安裝前的準備工作
        ① 工程設計與工程實際情況進行核對;
        ② 對自限溫伴熱帶、恒功率伴熱帶、采樣導壓管進行檢測(檢測完畢后要用熱縮性套管進行封閉);
        2、安裝
        ① 對耐腐伴熱采樣復合管施工前復查,無損傷;
        ② 按照設計圖紙或編制方案進行安裝。
        3、安裝結束后
        ① 對耐腐伴熱采樣復合管中自限溫伴熱帶和恒功率伴熱帶測試絕緣電阻及安全檢查;
        ② 對采樣管進行氣密性檢查(用干燥儀表空氣);
        ③ 對自限溫伴熱帶和恒功率伴熱帶送電檢查動態電流、溫度等。
    三、復合管安裝程序中的技術要求
        1、安裝前期工作
        ① 由于復合管中自限溫伴熱帶和恒功率伴熱帶的特性,對于伴熱帶的選用安裝則不詳盡。經過數年的工程實踐,諸多人為因素導致破壞。因此我們認為:前期工作對設計圖與工程實況要進行核對是非常重要的。
        ② 工程所在地氣象資料:年極端最低溫度、環境的濕度、風速等。(沿海地區還要考慮鹽霧影響)
        ③ 設計的配電容量是否滿足自限溫伴熱帶和恒功率伴熱帶的要求,其中自限溫伴熱帶具有PTC特性,決定了一送電起動時有“浪涌電流”現象,通常被設計者、使用者疏忽。在工程中己多次發現,因配電容量開關過小,導致導線發熱、跳閘、不能投運。我公司研制的HY01-B-220/35-100型自動限流器用于自限溫伴熱帶工程基本解決了這個問題。我公司根據工程所在地的情況,建議復合管(管內是自限溫伴熱帶的)長度>15米的管線需配我公司生產的自動限流器,并配漏電保護開關,容量見后附表。
        2、復合管安裝技術要求
        ① 復合管在儲運、安裝時,盡量避免在地面拖拉或浸入水、油污中,以免損壞護套和絕緣層。
        ② 復合管在安裝前后,均應對自限溫伴熱帶和恒功率伴熱帶進行電性能測試,線芯絕緣電阻>20MΩ為宜。在天氣陰潮濕度大的情況下可放寬到>2MΩ,在<2MΩ是要查清原因,方允許送電投運,上下工序要求有詳細交接記錄,以便事故分析時查考。
        3、電氣配件的安裝技術要求
        ① 復合管中伴熱帶與電源線連接:在易燃易爆場所必須采用與伴熱帶配套的防爆接線盒,在剝出伴熱芯線時應十分謹慎,避免多股線芯斷股,使線芯截面變小,引起過載而燒毀,導線在絞結后用熱縮性套管密封。
        ② 采樣管線的送電開關請按技術要求的列表來匹配,并配上漏電保護,防止短路和漏電事故。
        ③ 在安裝采樣管線到位后,特別是尾端部不能裸露在外,長時間日曬雨淋,復合管內保溫層嚴重吸水,會造成伴熱帶老化及脆化、短路引起事故,也降低使用壽命。(尾端部不能用絕緣膠帶繞線包裹,容易脫落、松開和老化,最好用Φ50的熱縮性套管收縮解決)。
        ④ 復合管中自限溫伴熱帶和恒功率伴熱帶的兩條線芯,必須保證電伴熱帶與各防爆電器附件正確可靠地連接,并有足夠的電氣間隙。在帶的末端是嚴禁相碰短接的,一般情況下用熱縮性套管密封,并用終端封閉。在防爆、濕度大的地區則必須采用專用防爆終端。接線后螺母要旋緊牢固可靠,不致被外力拔脫。
        ⑤ 采樣管線不論長短,伴熱電纜和電源線之間必須用中間接線盒過渡連接,否則會出現電火花、短路和漏電的事故(僅用絕緣膠帶繞線包裹,因為絕緣膠帶在長時間高溫條件下容易老化,融化)。
        ⑥ 由于并聯式恒功率電伴熱帶由一段段發熱節組合而成,其首尾二端各有幾十厘米的不發熱部分(冷端),安裝電器附件時,應確認冷端的起始點(移去編織層,在外護套上有凹坑,即為發熱接口),將開始發熱部分控制在需要伴熱的部位,冷端長度一般控制在0. 2-0. 3米。自限溫伴熱帶不存在發熱節或冷端,可以任意裁剪使用。接線時,尤其是并聯式恒功率電伴熱帶。必須特別注意線頭部位的電熱絲,要盡可能的剪短,并嵌入內外層護套之間,嚴禁其與編織層或線芯觸碰,以防漏電或短路,發生意外。附件安裝時,必須膠圈、墊圈、緊固件等齊全,方位正確、緊固,以防松動或盒內進水。
        ⑦ 凡穿越線路連接盒及易磨損部位的帶體必須有專用保護措施,防止震動磨擦,一般應放置在橋架內或專用管架上。
        ⑧ 電源線應采用三芯電纜,其中一芯作為接地與伴熱帶屏蔽層同時接在接地端子,內外接地栓必須牢固可靠(必須要接地,因為屏蔽層感應電壓最大在125V,一定要處理好,否則引起事故)。
        ⑨ 復合管中自限溫伴熱帶和恒功率伴熱帶電源電壓必須相對穩定。若電源電壓波動過大,容易使復合管中伴熱帶受損或達不到發熱效果,必須采取相應措施,比如加穩壓裝置。
    ⑩由于各個廠家產品參數不同,我公司電伴熱產品一般不能與其他產品混用,以保正常安全使用。
    除上述安裝要求外,電伴熱帶的安裝、調試和運行必須遵循國家頒布的“爆炸危險場所電氣安全規程”和“電氣裝置安裝工程施工及驗收規定”等標準和規范中的有關條文。
        4、復合管中電伴熱帶的銜接安裝簡圖
        通過幾年來許多工程資料積累,編繪了伴熱帶安裝銜接簡明圖供參考:

     

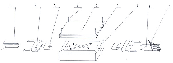
    伴熱采樣復合管中電伴熱帶安裝圖(一)
    1.電源線;2.接線盒的壓蓋;3.密封膠圈;4.固定螺釘;5.接線盒的頂蓋;6.密封壓片;7.接線盒本體;8.電伴熱帶;9.伴熱帶屏蔽網接地線

     

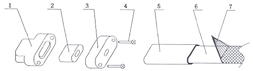
    伴熱采樣復合管中電伴熱帶安裝圖(二)
    1.終端本體;2.密封膠圈;3.終端壓蓋;4.固定螺釘;5.熱縮性套管(耐溫125℃) ;6.電伴熱帶;7.伴熱帶屏蔽網接地線


    四、安裝指標與要求
        1、電氣指標
        ① 額定電壓220VAC,根據不同的伴熱電纜,伴熱溫度可在60℃-160℃范圍;
        ② 自限溫伴熱帶恒功率伴熱帶一端接電源220VAC,另一端伴熱帶二根芯線嚴禁短路,采用終端封閉,加用703粘合劑。
        2、復合管安裝指標
        ① 復合管的最小曲率半徑0.5 m;
        ② 自限溫伴熱帶最大連續使用長度80m(如大于該長度,請與本公司技術部聯系),恒功率伴熱帶最大連續使用長度140m;
        ③ 最低安裝環境溫度-30℃(如低于該溫度,請與本公司技術部聯系);
        ④ 最小支撐點距離:垂直方向2m,水平方向2m;
        ⑤ 伴熱采樣復合管安裝應防止重物墜落砸傷、碰損;
        ⑥ 伴熱采樣復合管應避開與動力電纜敷設在一起;
    附表:

     

    伴熱采樣復合管中使用長度


        注:恒功率伴熱帶采樣復合管的使用長度按伴熱帶的額定功率計算進行匹配斷路器和電源線,不需要配置限流器。

     

    相關信息:防腐伴熱采樣復合管 CEMS煙氣采樣伴熱管線 多芯伴熱采樣復合管 不銹鋼伴熱采樣復合管

    所屬類別:技術支持
    該資訊的關鍵詞為:伴,熱,采樣,復合,管安裝,與,使用說明

    國家電伴熱生產基地,國際伴熱帶制造專家;傾力打造國內最大規模電伴熱產業集群

    備案皖公網安備 34118102000521號
  • <li id="www08"><tt id="www08"></tt></li><li id="www08"><table id="www08"></table></li>
  • <li id="www08"></li><li id="www08"></li>
    <li id="www08"><tt id="www08"></tt></li><li id="www08"><tt id="www08"></tt></li>
    <li id="www08"></li>
    <li id="www08"></li>
  • <tt id="www08"></tt>
  • 亚洲精品第一 西畴县| 武陟县| 洞口县| 洪雅县| 普宁市| 拉孜县| 阳山县| 灵山县| 新兴县| 德保县| 县级市| 驻马店市| 沿河| 天祝| 剑阁县| 仁怀市| 鹤岗市| 抚松县| 讷河市| 应用必备| 德昌县| 舞阳县| 凌海市| 凯里市| 武陟县| 翁牛特旗| 汾阳市| 宜阳县| 共和县| 屏东县| 曲沃县| 英山县| 祁连县| 芮城县| 桓台县| 昆明市| 通辽市| 凤山县| 固安县| 石狮市| 汝南县| http://444 http://444 http://444